
MBY系列減速器采用了現代齒輪設計制造技術,吸取了國內外同類產品的優點,總結了國內設計制造同類產品的經驗,根據水泥等行業使用工況惡劣、低速重載、安全可靠、使用壽命長等特點,專門精心設計用于水泥磨、煤磨等用途的邊緣傳動機減速器。 MBY系列減速器采用單級減速、帶專用油站、齒輪全部為硬齒面,精度達6級(GB/T10095—2001)以上,高可靠度設計,設計壽命為持久壽命,與國內外同類產品相比,具有體積小、重量輕、外形簡潔大方、操作簡單、維修方便、安全可靠、使用壽命長等特點。
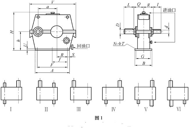
減速器外形尺寸及裝配形式

MBY系列邊緣傳動磨機減速器外形尺寸及裝配形式
型號 | 輸入軸 | 輸出軸 | |||||||||||||
i=4 | i=4.5~5 | i=5.6~6.3 | i=7.1 | ||||||||||||
g | d | l | g | d | l | g | d | l | g | d | l | Q | D | L | |
MBY400 | 270 | 120 | 200 | 270 | 100 | 200 | 270 | 90 | 180 | 270 | 80 | 140 | 270 | 160 | 200 |
MBY450 | 300 | 120 | 220 | 300 | 120 | 200 | 300 | 100 | 180 | 300 | 90 | 160 | 300 | 180 | 220 |
MBY500 | 320 | 140 | 240 | 320 | 140 | 200 | 320 | 110 | 180 | 320 | 100 | 160 | 320 | 180 | 240 |
MBY560 | 340 | 160 | 250 | 340 | 160 | 200 | 340 | 120 | 200 | 340 | 110 | 180 | 340 | 200 | 260 |
MBY630 | 370 | 180 | 250 | 370 | 160 | 230 | 370 | 130 | 200 | 370 | 120 | 180 | 370 | 220 | 300 |
MBY710 | 390 | 200 | 280 | 390 | 160 | 250 | 390 | 150 | 220 | 390 | 140 | 200 | 390 | 260 | 340 |
MBY800 | 425 | 220 | 300 | 425 | 180 | 260 | 425 | 18/0 | 240 | 425 | 160 | 200 | 425 | 300 | 380 |
MBY900 | 455 | 240 | 340 | 455 | 200 | 260 | 455 | 180 | 260 | 455 | 180 | 220 | 455 | 300 | 400 |
MBY1000 | 485 | 260 | 380 | 485 | 240 | 280 | 485 | 200 | 280 | 485 | 200 | 250 | 485 | 320 | 420 |
MBY1100 | 520 | 280 | 400 | 520 | 260 | 300 | 520 | 220 | 300 | 520 | 220 | 280 | 520 | 360 | 440 |
型號 | a | V | H | h | U | A | F | f | R | S | N | T | B | G | 油站型號 | 平均重量(Kg) |
MBY400 | 400 | 1050 | 850 | 400 | 50 | 820 | 700 | / | 275 | 60 | 4 | 27 | 450 | 390 | YZ25 | 1450 |
MBY450 | 450 | 1160 | 950 | 450 | 50 | 900 | 780 | 390 | 305 | 60 | 4 | 27 | 510 | 450 | YZ25 | 1950 |
MBY500 | 500 | 1260 | 1050 | 500 | 50 | 980 | 840 | 420 | 330 | 70 | 6 | 33 | 550 | 480 | YZ40 | 2600 |
MBY560 | 560 | 1400 | 1170 | 560 | 55 | 1080 | 940 | 470 | 370 | 70 | 6 | 33 | 590 | 520 | YZ40 | 3050 |
MBY630 | 630 | 1560 | 1310 | 630 | 55 | 1200 | 1060 | 530 | 420 | 70 | 6 | 39 | 640 | 57 | YZ63 | 3400 |
MBY710 | 710 | 1750 | 1470 | 710 | 55 | 1350 | 1190 | 595 | 470 | 80 | 6 | 39 | 690 | 620 | YZ63 | 4900 |
MBY800 | 800 | 2030 | 1650 | 800 | 70 | 1480 | 1280 | 640 | 500 | 100 | 6 | 39 | 760 | 680 | YZ63 | 5800 |
MBY900 | 900 | 2140 | 1850 | 900 | 70 | 1650 | 1450 | 725 | 575 | 100 | 6 | 45 | 820 | 730 | YZ63 | 8500 |
MBY1000 | 1000 | 2360 | 2050 | 1000 | 90 | 1820 | 1620 | F/3 | 630 | 100 | 8 | 45 | 880 | 790 | YZ125 | 9250 |
MBY1100 | 1100 | 2570 | 2250 | 1100 | 90 | 1980 | 1780 | F/3 | 695 | 100 | 8 | 45 | 950 | 860 | YZ125 | 11800 |
|
|
|
|
|
|
|
|
|
|
|
|
|
|
|
|
|
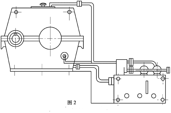
減速器與稀油站連接圖
MBY系列邊緣傳動磨機減速器與稀油站連接圖
